成银转债触发强赎,银行转债市场再变动
AI导读:
年内首只触发强赎条款的银行转债——成银转债正式诞生,随着股市小牛行情,成功摆脱转股率低迷困境。成银转债完成强赎后将摘牌,银行转债数量减少至12只。专家分析银行转债转股率低的原因及影响。
年内首只触发强赎条款的银行转债——成银转债正式诞生!随着9月以来股市的小牛行情,银行可转债成功摆脱了转股率低迷的困境。
成都银行于12月17日晚间发布公告,宣布自2024年11月7日至12月17日期间,公司股票有15个交易日的收盘价不低于“成银转债”当期转股价格12.23元/股的130%,触发了有条件赎回条款。公司董事会审议通过了提前赎回“成银转债”的议案,决定按债券面值加当期应计利息的价格赎回未转股的全部“成银转债”。
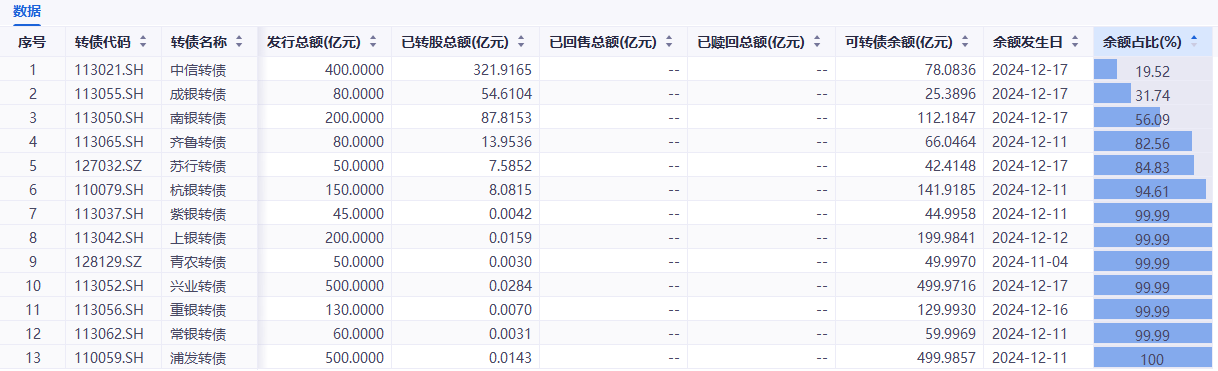
成银转债一旦完成强赎,将从二级市场摘牌,届时银行转债数量将减少至12只。这一变动再次凸显了当前银行转债市场的动态变化。

成都银行的三季报显示,今年前三季度,公司实现营业收入172.4亿元、净利润90.4亿元,分别同比增长3.2%、10.8%,保持了上市银行的较高水平。截至9月末,成都银行资产规模达到1.22万亿元,较年初增长约12%,其中贷款占比由年初的57.3%升至59.1%。资产质量方面,不良贷款率为0.66%,较年初下降0.02个百分点,拨备覆盖率保持在500%左右,处于上市银行领先水平。
“成银转债”的转股期为6年,初始转股价为14.53元/股,后因三次年度现金分红调整至12.23元/股。截至12月17日,成都银行的收盘价为16.47元,相比转股价溢价35%。这一优秀表现使得成银转债的未转股率大幅下降至31.74%,大部分已实现转股。而在本轮股市小牛行情启动前,成银转债的未转股率还在七成左右。
然而,成银转债的公告也提示了风险,投资者除了在规定期限内通过二级市场继续交易或按转股价格转股外,仅能选择以票面价格加当期应计利息被强制赎回。否则可能面临较大投资损失。
虽然成银转债是今年首只触发强赎的转债,但并不是首只退市的银行转债。今年8月,苏农转债到期并完成兑付后被摘牌,成为今年首只退市银行转债。目前,除了成银转债外,还有12只银行转债在市,其中转股率最高的是中信银行,达到了80.48%;南银转债转股率为68.26%,其余9只可转债转股率则在20%以下。
专家表示,银行发行可转债旨在补充核心一级资本。若可转债不能转股,将不利于银行缓解核心一级资本压力。而转股率低的原因主要有两方面:一是二级市场正股价格表现不佳,投资者预期获利空间小;二是银行可转债创造转股条件不易,如转股价不得低于每股净资产等限制。
此外,优美利投资总经理贺金龙指出,截至2024年上半年,有10只银行转债的转股比例未达预期。由于银行发行可转债规模较大,转股率低将增加银行的偿付压力。但银行往往可以通过其他战略投资者增持可转债并转股的方式,缓解到期兑付压力。
郑重声明:以上内容与本站立场无关。本站发布此内容的目的在于传播更多信息,本站对其观点、判断保持中立,不保证该内容(包括但不限于文字、数据及图表)全部或者部分内容的准确性、真实性、完整性、有效性、及时性、原创性等。相关内容不对各位读者构成任何投资建议,据此操作,风险自担。股市有风险,投资需谨慎。如对该内容存在异议,或发现违法及不良信息,请发送邮件至yxiu_cn@foxmail.com,我们将安排核实处理。

