《哪吒之魔童闹海》票房破50亿,光线传媒股价涨停
AI导读:
《哪吒之魔童闹海》票房突破50亿元,预计总票房将达到87.38亿元。光线传媒作为主投方,股价因影片票房大卖而涨停。影片的成功不仅彰显了其非凡魅力,也再次点燃了中国电影市场的热情。
2025年2月5日,根据猫眼专业版实时数据统计,国产动画电影《哪吒之魔童闹海》的票房已成功跨越50亿大关,且专业人士预测其最终总票房有望达到惊人的87.38亿元。这一里程碑式的成就不仅彰显了影片的非凡魅力,也再次点燃了中国电影市场的热情。

据悉,《哪吒之魔童闹海》由光线传媒(股票代码:300251.SZ)主导投资。针对影片的票房预测及对公司业绩的具体贡献,南财快讯记者以投资者身份联系了光线传媒。相关工作人员回应称,公司正密切关注猫眼专业版提供的票房预测数据,并透露公司将于当日下午或晚间发布详细的票房公告,进一步阐述《哪吒之魔童闹海》对公司收入和净利润的具体影响。
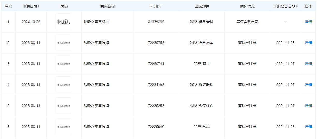
知识产权方面,天眼查数据显示,光线传媒旗下的北京光线影业有限公司已成功注册了多枚与“哪吒之魔童闹海”相关的商标,涵盖教育娱乐、餐饮住宿、广告销售等多个领域。此外,该公司还注册了包括“魔童哪吒”、“哪吒降世”、“魔丸哪吒”以及“哪吒之魔童降世”在内的多枚商标,全面布局了影片的品牌保护。

图片来源:天眼查
据每日经济新闻报道援引的机构人士分析,《哪吒之魔童闹海》有望为光线传媒带来11亿至12亿元的收入,以及8亿至10亿元的利润,这些收益将主要反映在公司今年一季度的财务报表中。此外,与影片相关的衍生品也将为公司贡献额外的业绩增长点。
在中国电影票房总榜上,《哪吒之魔童闹海》已攀升至第5位,与排名第4的《哪吒之魔童降世》遥相呼应,两个“哪吒”共同见证了中国动画电影的辉煌时刻。
受影片票房大卖的积极影响,光线传媒股价在2月5日高开后迅速涨停,涨幅达20%,截至早盘收盘,股价报11.44元/股,公司总市值达到335.6亿元。
(声明:本文内容仅供参考,不构成任何投资建议。投资者据此操作,风险自担。)
(文章来源:21世纪经济报道)
郑重声明:以上内容与本站立场无关。本站发布此内容的目的在于传播更多信息,本站对其观点、判断保持中立,不保证该内容(包括但不限于文字、数据及图表)全部或者部分内容的准确性、真实性、完整性、有效性、及时性、原创性等。相关内容不对各位读者构成任何投资建议,据此操作,风险自担。股市有风险,投资需谨慎。如对该内容存在异议,或发现违法及不良信息,请发送邮件至yxiu_cn@foxmail.com,我们将安排核实处理。

