沪深京IPO受理重启后差异显著,北交所受理速度明显加快
AI导读:
沪深京三大交易所IPO受理重启后,北交所受理速度明显快于沪深交易所,引发市场关注。业内对北交所新股发行速度是否加快存在不同看法,但北交所上市通道相对恢复正常,吸引了不少企业转投。
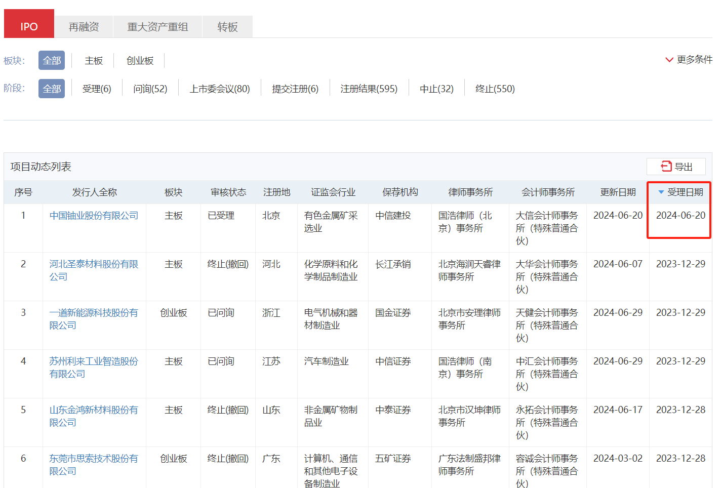
沪深京三大交易所官网数据显示,自6月20日起,已暂停近半年的IPO受理工作重新启动。然而,沪深京市场在IPO受理的节奏上却呈现出显著差异。截至7月3日,北交所新增28家IPO受理,相比之下,沪深交易所各仅新增一家。
对于北交所IPO受理速度明显快于沪深交易所的现象,业内存在不同看法。有观点认为,北交所市场体量小,增量空间大,预计下半年发行速度会适度加快。但也有分析指出,这并不意味着北交所在审核尺度上会更宽松。
IPO受理恢复以来,沪深京市场差异显著。北交所的IPO受理数量激增,而沪深交易所则相对冷清。这一现象背后,既有北交所辅导企业家数多的原因,也有企业赶在财报有效期前申报的因素。
图片来源分别展示了上交所、深交所和北交所的IPO受理情况,直观呈现了三大交易所在IPO受理上的显著差异。
资深新三板评论人指出,沪深IPO近乎暂缓的情况下,北交所作为服务创新型中小企业的主阵地,上市通道相对恢复正常。而沪深市场则因监管趋严,导致企业申报意愿降低。
此外,随着创业板和科创板上市标准提高,不少企业纷纷转投北交所。北交所的吸引力在于其上市标准相对明确,且对中小企业正面效应大。然而,也有分析师指出,虽然北交所审核并未更宽松,但企业转战北交所的原因大多还是利润体量不够。
值得注意的是,近期不少企业已将上市平台从沪深交易所变更为北交所,甚至包括一些曾主动撤回沪深交易所IPO申请的企业。这一现象进一步加剧了沪深京市场在IPO受理上的差异。
尽管北交所IPO受理速度明显加快,但并不意味着新股发行速度也会同步提升。数据显示,今年以来北交所新股发行频率并未明显快于沪深交易所。新股上市的节奏取决于证监会注册批文放行的节奏。
目前沪深交易所排队上市企业数量较年初有明显下降,而北交所排队上市企业数量已超过沪市。但只要北交所上市流程恢复正常推进,暂时还不会形成堰塞湖现象。
(文章来源:每日经济新闻)

图片来源:上交所官网

图片来源:深交所官网

图片来源:北交所官网
郑重声明:以上内容与本站立场无关。本站发布此内容的目的在于传播更多信息,本站对其观点、判断保持中立,不保证该内容(包括但不限于文字、数据及图表)全部或者部分内容的准确性、真实性、完整性、有效性、及时性、原创性等。相关内容不对各位读者构成任何投资建议,据此操作,风险自担。股市有风险,投资需谨慎。如对该内容存在异议,或发现违法及不良信息,请发送邮件至yxiu_cn@foxmail.com,我们将安排核实处理。

