A股市场全面回调,行业板块普跌
AI导读:
11月22日,A股市场出现全面回调,上证指数、深证成指、创业板指及科创50指数均大幅下跌。所有行业板块和概念均呈现下跌态势,涨停个股主要集中在化工等行业。沪深两市成交额有所增加,市场普遍看跌。
11月22日,A股市场出现全面回调,上证指数、深证成指、创业板指及科创50指数均大幅下跌,其中上证指数收跌3.06%,深证成指收跌3.52%,创业板指收跌3.99%,科创50指数收跌4.16%。沪深两市成交额较前一交易日有所增加,合计成交17896.84亿元。
市场普跌,涨停个股集中在化工等行业
盘面上,所有行业板块和概念均呈现下跌态势,医药生物、证券、保险等行业跌幅较大。涨停个股主要集中在化工、建筑装饰、计算机、机械设备、有色金属等行业。个股方面,沪深两市合计389只个股上涨,4700只个股下跌,76只个股涨停,23只个股跌停。
从涨停板封单量来看,东方精工最受市场追捧,封单量达1.36亿股。涨停板封单金额方面,21股封单金额超过1亿元,东方精工以19.3亿元的封单资金位居榜首。
连续涨停天数方面,粤桂股份连续收获10个涨停板,成为市场焦点。
主力资金净流出近千亿,电子等行业净流出最多
Wind数据显示,沪深两市主力资金净流出928.89亿元,其中创业板净流出278.09亿元,沪深300成份股净流出289.68亿元。从行业来看,电子行业主力资金净流出最多,达到139.06亿元,非银金融、计算机、电力设备等行业也呈现大额净流出。
个股资金流:59股获超亿元净流入,236股被净卖出超亿元
在个股方面,今日有59只个股获得主力资金净流入超过1亿元,拓尔思以8.48亿元的净流入金额位居首位。尾盘主力资金净流入方面,壹连科技等31股获尾盘主力资金净流入超2000万元。同时,今日有236只个股被主力资金净卖出超过1亿元,四川长虹净流出金额最多,达到27.96亿元。
北向资金成交总额超两千亿,宁德时代成交居首
北向资金今日成交总额为2053.58亿元,沪股通和深股通成交总额分别为960.61亿元和1092.97亿元。活跃个股方面,宁德时代、东方财富、贵州茅台等成交总额位居前列。
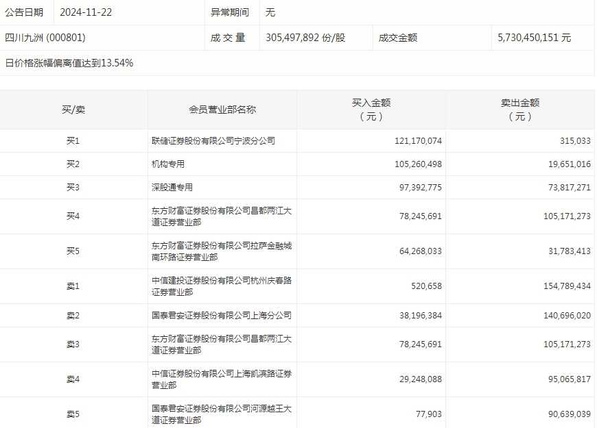
龙虎榜机构净买入4股,四川九洲居首位
盘后龙虎榜数据显示,机构席位资金今日合计净卖出约2.97亿元,其中净买入的个股有4只,四川九洲净买入金额最多,约8560.95万元。机构净卖出的个股中,易点天下净卖出金额最多,约2.52亿元。





郑重声明:以上内容与本站立场无关。本站发布此内容的目的在于传播更多信息,本站对其观点、判断保持中立,不保证该内容(包括但不限于文字、数据及图表)全部或者部分内容的准确性、真实性、完整性、有效性、及时性、原创性等。相关内容不对各位读者构成任何投资建议,据此操作,风险自担。股市有风险,投资需谨慎。如对该内容存在异议,或发现违法及不良信息,请发送邮件至yxiu_cn@foxmail.com,我们将安排核实处理。

